近日,演員宋祖兒被舉報偷稅漏稅一事引發網友的關注。

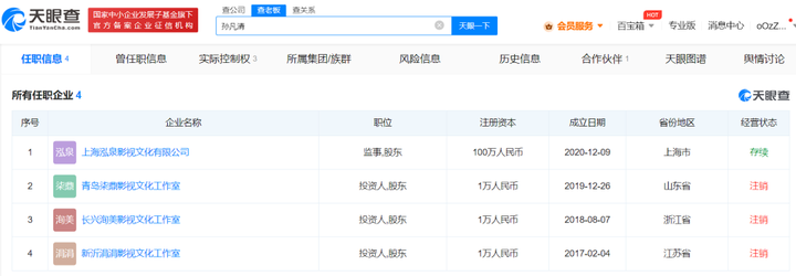
天眼查App顯示,宋祖兒(孫凡清)共關聯4家企業,其中,由其個人獨資的青島柒鼎影視文化工作室、長興洵美影視文化工作室、新沂涓涓影視文化工作室均已注銷,目前存續狀態僅剩上海泓泉影視文化有限公司1家。

泓泉影視文化公司成立于2020年12月,注冊資本100萬人民幣,法定代表人、執行董事、大股東為何旭軍,宋祖兒擔任監事并持股10%。年報信息顯示,該公司參保人數為0。

據悉,宋祖兒待播劇有有與劉宇寧合作的《折腰》,與任嘉倫合作的《無憂渡》,與張新成合作的《艱難的制造》,與侯明昊合作的《閱讀課》等。
《中華人民共和國稅收征收管理法》第六十三條
納稅人偽造、變造、隱匿、擅自銷毀帳簿、記帳憑證,或者在帳簿上多列支出或者不列、少列收入,或者經稅務機關通知申報而拒不申報或者進行虛假的納稅申報,不繳或者少繳應納稅款的,是偷稅。對納稅人偷稅的,由稅務機關追繳其不繳或者少繳的稅款、滯納金,并處不繳或者少繳的稅款百分之五十以上五倍以下的罰款;構成犯罪的,依法追究刑事責任。扣繳義務人采取前款所列手段,不繳或者少繳已扣、已收稅款,由稅務機關追繳其不繳或者少繳的稅款、滯納金,并處不繳或者少繳的稅款百分之五十以上五倍以下的罰款;構成犯罪的,依法追究刑事責任。
《中華人民共和國刑法》第二百零一條
納稅人采取欺騙、隱瞞手段進行虛假納稅申報或者不申報,逃避繳納稅款數額較大并且占應納稅額百分之十以上的,處三年以下有期徒刑或者拘役,并處罰金;數額巨大并且占應納稅額百分之三十以上的,處三年以上七年以下有期徒刑,并處罰金。扣繳義務人采取前款所列手段,不繳或者少繳已扣、已收稅款,數額較大的,依照前款的規定處罰。對多次實施前兩款行為,未經處理的,按照累計數額計算。有第一款行為,經稅務機關依法下達追繳通知后,補繳應納稅款,繳納滯納金,已受行政處罰的,不予追究刑事責任;但是,五年內因逃避繳納稅款受過刑事處罰或者被稅務機關給予二次以上行政處罰的除外。